Spare Parts Catalog
Motor
Bremsanlage - BowdenzĂĽge
Lenker/Lenkung
Elektrische Anlage
Maintenance
Fahrgestell - Plastformteil - Karosserien
Wechselrad
KlĂĽhlhaube-hauptlager
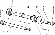
Kurbelwelle-pleuelstange-kurbelzapfen einheit
Schaltgabel
Lichtmaschine
StoĂźabfangendes vorgelegerad
Befestigung schaltsegment
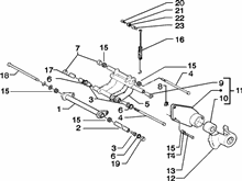
KURBELGEHÄUSE
Kupplung
Kurbegehäusebefest.
FrischĂ·lautomatik
LÜFTERGEHÄUSEDECKEL-Motorschutz
Elektronische zĂĽndvorrichtung
Motor
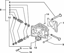
Einheit Zylinder-Kolben-Kolbenbolzen
Kupplungsdeckel
Starterhebel



The information below is required for social login
Sign In
Create New Account