Spare Parts Catalog
- Spare Parts Catalog
- scarabeo
- SCARABEO 50 2T
- Scarabeo 50 2T eng. Minarelli 2000-2006 (APAC, EMEA, NAFTA)
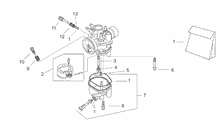
MOTOR
RAHMEN
Hinterrad Scheibenbremse
Hinterleuchten
Hinterrad trommelbremse
Vorderradbremszange
Fahrgestell/Karosserie
Hinterrad Scheibenbremse
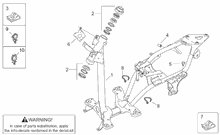
H.radaufhängung-Pleuelstange
Frontaufbau I
Frontaufbau II
Frontaufbau III
Frontaufbau IV
Fussrasten - Ständer
Heckaufbau I
Heckaufbau II
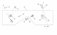
Lenkstange - Instrumenteneinheit
Schaltungen rechts
Schaltungen links
Deko Anleitung Schilder
Auspufftopf
Ă–l- und Kraftstofftank
SchloĂźen
Mittlerer aufbau I
Mittlerer aufbau II
Sitz - Gepäckträger
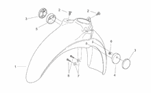
Vorderleuchten
Vorderrad
Filtergehäuse
Auspufftopf
Staukoffer
Rear headlight - Top box
Vorder Elektrische Anlage
Vorderradgabel
SchloĂźen
Schilden
Blinker
Lichter
Deko und bed./wart.- Anleitung
Elektrische Anlage



The information below is required for social login
Sign In
Create New Account