Spare Parts Catalog
MOTOR
RAHMEN
Vorderrad II
ZĂĽndung Digiplex
Luftfilter
Vorderrad
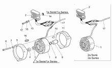
Elektrische anlage I
Fussrasten - Ständer
Bremsanlage - Hinten
Vorderradbremspumpe
Hinterradbremspumpe
Instrumententafel
Hinterrad
Teilerradsatz
RĂĽcklicht
Bremszange
Auslassgruppe
"Sonora"- Zweitonsirenen
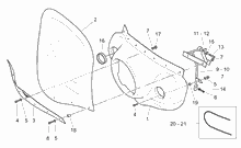
Fahrgestell/Karosserie
Einspeisung
Lenkstange - Schaltungen
Bremsanlage ABS
Elektrische Anlage "Digiplex"
Aufhängung Vorn-Hinten
Hinterleuchten
Elektrische Anlageeinspritzung
Auslassgruppe
Auslassgruppe
Einspeisung
Auslassgruppe
Strobo Leuchte "sonora"
Elektrische anlage I
SchloĂźen
Elektrische Anlage
Ă–lkĂĽhler



The information below is required for social login
Sign In
Create New Account