Spare Parts Catalog
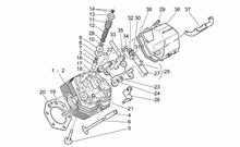
MOTOR
RAHMEN
Vorderrad II
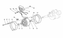
ZĂĽndung Digiplex
Vorderrad
Elektrische anlage I
Fussrasten - Ständer
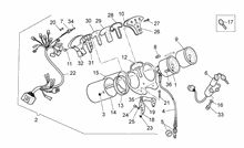
Lenker
Bremsanlage - Hinten
Vorderradbremspumpe
Hinterradbremspumpe
Hinterrad
Teilerradsatz
RĂĽcklicht
Bremszange
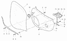
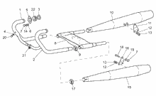
Auslassgruppe
Schutzbleche vo.-hi.
Scheinwerfer-Hupe
"Sonora"- Zweitonsirenen
Fahrgestell/Karosserie
Einspeisung
Bremsanlage ABS
Elektrische Anlage "Digiplex"
Aufhängung Vorn-Hinten
Hinterleuchten
Elektrische Anlageeinspritzung
Auslassgruppe
Einspeisung
Auslassgruppe
Elektrische anlage I
SchloĂźen
RĂĽcklicht
Interne Schaltsegmente



The information below is required for social login
Sign In
Create New Account