Spare Parts Catalog
MOTOR
RAHMEN
ZĂĽndung Digiplex
Luftfilter
Vorderrad
Batterie - ZĂĽndung Motoplat
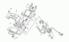
Elektrische Anlage
Suitcase kit
Elektrische anlage I
Schwinge
Fussrasten - Ständer
Lenker
Verkleidung
Vorderradbremspumpe
Vorderradgabel
Hinterradbremspumpe
Instrumententafel
Hinterrad
Teilerradsatz
Aufbau
RĂĽcklicht
Bremszange
Schutzbleche vo.-hi.
Stroboskopleuchte VAMA
Scheinwerfer-Hupe
"Sonora"- Zweitonsirenen
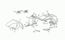
Fahrgestell/Karosserie
Einspeisung
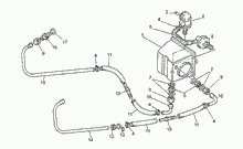
Bremsanlage ABS
Elektrische Anlage "Digiplex"
Aufhängung Vorn-Hinten
Strobo Leuchte "sonora"



The information below is required for social login
Sign In
Create New Account