Ersatzteilkatalog

  1. Ersatzteilkatalog
  2. Vespa
  3. Vespa 946
  4. Vespa 946 150 E3-E5 11° Anniversario 2023 (APAC)

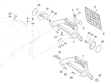
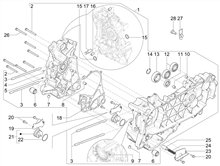
Bremsanlage - Bowdenzüge