Ersatzteilkatalog

  1. Ersatzteilkatalog
  2. Piaggio
  3. Beverly 300
  4. BEVERLY 300 RST/S 4T 4V IE E3 2010-2016 (EMEA)

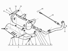
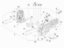
Bremsanlage - Bowdenzüge