Ersatzteilkatalog

  1. Ersatzteilkatalog
  2. Piaggio
  3. Beverly 350
  4. BV 350 4T 4V ie E3 ABS 2015 (NAFTA)

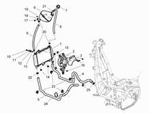
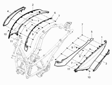
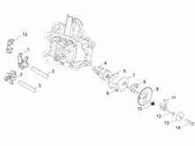
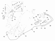
Bremsanlage - Bowdenzüge