Ersatzteilkatalog
Motor
Bremsanlage - Bowdenzüge
Elektrische Anlage
Fubbrett
Vorderradkotflügel
Bremszange
Bremsbelege hinten
Auspufftopf
Bremstrommel hinterrad
Fahrgestell/Karosserie
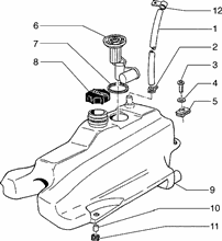
Kraftstofftank
Oltank
Benzinstandanzeiger
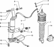
Stoßdämpfer hinten
Stossdämpfer vorderer
Sitz
Staubschutzscheibe-o-ring
Hauptständer
Lenkerabdeckung
Kotflügel-rad
Huper
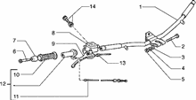
Lenker Bauteile (Fahrzeuge mit scheibenbremse hinten)




The information below is required for social login
Anmelden
Neuen Account erstellen