Ersatzteilkatalog
Maintenance
Maintenance
Elektrische Anlage
10_Bremsanlage
Bremsbelege hinten
Anlassermotor
Wechselrad
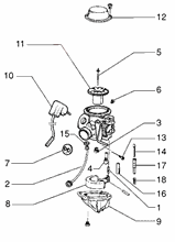
Vergaserkomponenten
Klühlhaube-hauptlager
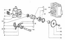
Kurbelwelle-pleuelstange-kurbelzapfen einheit
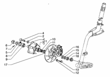
Schaltgabel
Lichtmaschine
Stoßabfangendes vorgelegerad
KURBELGEHÄUSE
Kupplung
Kurbegehäusebefest.
Frisch÷lautomatik
LÜFTERGEHÄUSEDECKEL-Motorschutz
Elektronische zündvorrichtung
Vergaserkomponenten
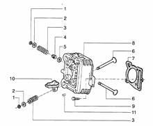
Motor
Einheit Zylinder-Kolben-Kolbenbolzen
Bauteile luftfilter
Vergaser-luftfilter
Kupplungsdeckel
Starterhebel




The information below is required for social login
Anmelden
Neuen Account erstellen