Ersatzteilkatalog
- Ersatzteilkatalog
- scarabeo
- SCARABEO 125-150-200-250
- Scarabeo 125-200 E2 eng.Piaggio 2003 (APAC, EMEA)
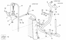
MOTOR
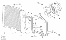
RAHMEN
Hinterleuchten
Hinterrad trommelbremse
Fahrgestell/Karosserie
Hinterrad Scheibenbremse
H.radaufhängung-Pleuelstange
Frontaufbau I
Frontaufbau II
Frontaufbau III
Frontaufbau IV
Fussrasten - Ständer
Heckaufbau I
Heckaufbau II
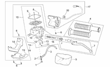
Lenkstange - Instrumenteneinheit
Schaltungen rechts
Schaltungen links
Deko Anleitung Schilder
Auspufftopf
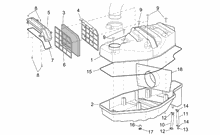
Öl- und Kraftstofftank
Mittlerer aufbau I
Mittlerer aufbau II
Sitz - Gepäckträger
Vorderleuchten
Vorderrad
Filtergehäuse
Auspufftopf
Staukoffer
Rear headlight - Top box
Vorder Elektrische Anlage
Hint.Elektrische Anlage
Vorderradgabel
Schloßen
Schilden
Blinker
Deko und bed./wart.- Anleitung
Elektrische Anlage
Elektrische anlage I
Hinterradzange
Staukoffer
Elektrische anlage I
Staukoffer
Scheinwerfer




The information below is required for social login
Anmelden
Neuen Account erstellen