Ersatzteilkatalog
- Ersatzteilkatalog
- scarabeo
- SCARABEO 125-150-200-250
- Scarabeo 125-250 E2 eng.Piaggio 2004-2006 (APAC, EMEA)
MOTOR
RAHMEN
Hinterrad Scheibenbremse
Hinterleuchten
Hinterrad trommelbremse
Vorderradbremszange
Fahrgestell/Karosserie
Hinterrad Scheibenbremse
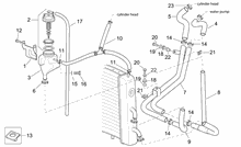
H.radaufhängung-Pleuelstange
Frontaufbau I
Frontaufbau II
Frontaufbau III
Frontaufbau IV
Fussrasten - Ständer
Heckaufbau I
Heckaufbau II
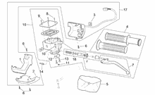
Lenkstange - Instrumenteneinheit
Schaltungen rechts
Schaltungen links
Deko Anleitung Schilder
Auspufftopf
Öl- und Kraftstofftank
Schloßen
Mittlerer aufbau I
Mittlerer aufbau II
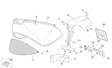
Sitz - Gepäckträger
Vorderleuchten
Vorderrad
Filtergehäuse
Auspufftopf
Staukoffer
Rear headlight - Top box
Vorder Elektrische Anlage
Hint.Elektrische Anlage
Vorderradgabel
Schloßen
Lichter
Deko und bed./wart.- Anleitung
Elektrische anlage I
Hinterradzange
Staukoffer
Schilder und Anleit.
Elektrische anlage I
Elektrische anlage I
Staukoffer
Scheinwerfer
Schloßen




The information below is required for social login
Anmelden
Neuen Account erstellen