Ersatzteilkatalog
Motor
Wechselrad
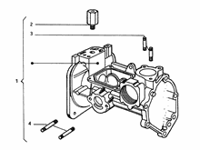
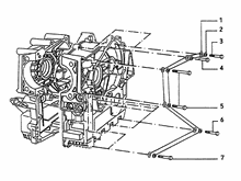
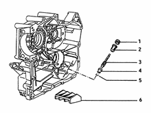
Kurbelgehause - Zylinder - Kurbelwelle
Engine assy - Flywheel magneto
Clutch - Separated lubrication device
Einnankerumformer
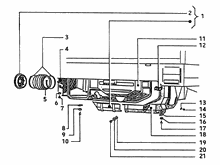
Differential - Achsenwellen
Hintere Radaufhängung - Stoßdämpfer
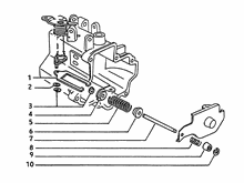
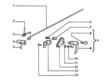
Handlebars - Transmisions
Steering wheel - Steering gear box
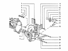
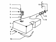
Conveyor - Air Cleaner
Kabinenturen
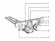
Frame - Seat
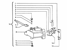
Carburettor - Silencer
Vordere Radaufhängung - Stoßdämpfer
Vorderschutz-scheinwerferhalter
Fuel Tank - Wheel
Engine securing part
Brake pump - Control pedals - Gear change control
Bowdenzüge
Elektrische leitungen
Elektrische Vorrichtungen
Elektrische leitungen
Hydraulichebremse anlege
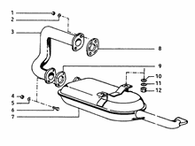
Auspufftopf
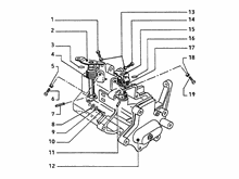
Befest. des getriebeschaltgehauses
Differential
Elastische aufhangung
Kastenaufbau
Pritsche
Gebläseverkleidung
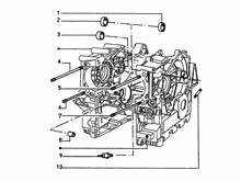
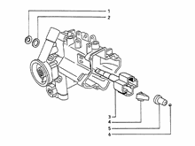
Getriebeschaltgehause
Hinterachswelle
Kupplung
Kupplungsdeckel
Station Wagon carriage body
Motorhalterung
Motorhalterung
Olleitungen vom radiator zum zylinderkopf und zur olpumpe
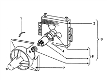
Radiator - Elektroventilator
Radiator - Elektroventilator
Schutzblech
Kippbare ladeflache
Kastenaufbau
Tip-up hydraulic system
Wechselrad
Zylinderkopfaufhangung
Ölmeßstab
Fahrgestell - Plastformteil - Karosserien
Ansaugleitung
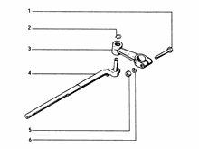
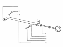
Zugstange auf getriebeseite (lenkrad)
Armaturenbret
Armaturenbrett-zündschloß
Befestigung der hinteren bremstrommel
Batterie-massekabel und pluspolkabel
Scheinwerfer-blinker
Bordwande
Bowdenzüge
Bowdenzüge
Bremsleitung hinterrad
Bremsleitung vorderrad
Bremsolbehalter
Dieselolfilter
Handgriffe
Pedale (lenkrad)
Enteiser
Fahrgestell/Karosserie
Fahrgestellteile
Fahrgestellteile
Fahrgestellteile
Vorwärmvorrichtung-spannungsregler-fernschalter
Handbremse und warmlufthebel
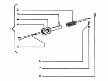
Handbremszug
Hauptbremszylinder
Hinterer bremszylinder
Hinterer stossdampfer
Hinterradbremsbacken
Hinterradnabe
Kastenaufbau
Blinkerschalter-bremskontakt
Zugstange auf kabinenseite (lenkrad)
Kabinenturen
Verteilerbüchse-mikrounterbrecher-sicherungshalter
Befestigung positivkabel
Kastenaufbau
Kastenaufbau
Kraftstoffleitung tank - Kraftstoffpumpe - Kraftstoffruckfuhrung
Kraftstofftank
Lagerschalengruppe
Leitung filter - Einspritzpumpe - Leitung kraftstoffpumpe - Filter
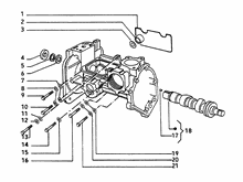
Lenkgehause
Lenkhebel
Lenkrad
Luftfilter
Rücklicht
Handbremszug
Motorkontrolldeckel
Nabe - Elastisches gelenk fur hinterrad
Ruckwand




The information below is required for social login
Anmelden
Neuen Account erstellen