Ersatzteilkatalog
Motor
Bremsanlage - Bowdenzüge
Benzinstandanzeiger
Bremsenkit
Batterie-Regler
Bllnker
Elektrische Vorrichtungen
Elektrische Vorrichtungen
Elektrische Vorrichtungen
Elektrische leitungen
Rücklicht
Schilden
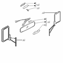
Scheibenwaschanlage
Sonnenschutz
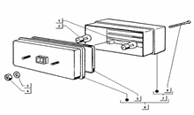
Pritche
Pritsche
Bordwände
Vorwärmvorrichtung - Spannungsregler
Scheibenwischer
Batteriebügel
Abweisergruppe
Lenker/Lenkung
Elektrische Anlage
Fubbrett
Vorderradkotflügel
Bremszange
Stoßdämpfer hinten
Stossdämpfer vorderer
Staukoffer
Schließvorrichtung kotflügel
Lenkung
Schaltgriff
Lagerungen steuerrohr-diebstahlssicherung
Lenkerabdeckung
Kotflügel-rad
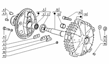
Vordere trommel
Befestigung des bremszylinder und bremspedal (lenker)
Hauptbremszylinder
Stoßdämpfer hinten
Bremsleitung vorderrad
Bremszylinderbefestigung (lenkrad)
Hinterer radbremszylinder
Kleine nabe hinterrad
Rad (lenker)
Bremsolbehalter
Kleine nabe-elastische verbindung hinterrad
Bremsleitung hinterrad
Pritschenwagen (ladeklappen und klappe aus legierung)
Bowdenzüge - (Scheibenbremsen version)
Fahrgestell - Plastformteil - Karosserien
Bremsbelege hinten
Auspufftopf
Bremstrommel hinterrad
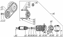
Anlassermotor
Fahrgestell/Karosserie
Kraftstofftank
Oltank
Sitz
Staubschutzscheibe-o-ring
Hauptständer
Wechselrad
Vergaserkomponenten
Klühlhaube-hauptlager
Kurbelwelle-pleuelstange-kurbelzapfen einheit
Schaltgabel
Lichtmaschine
Stoßabfangendes vorgelegerad
Befestigung schaltsegment
KURBELGEHÄUSE
Kupplung
Kurbegehäusebefest.
Frisch÷lautomatik
LÜFTERGEHÄUSEDECKEL-Motorschutz
Elektronische zündvorrichtung
Vergaserkomponenten
Motor
Einheit Zylinder-Kolben-Kolbenbolzen
Bauteile luftfilter
Vergaser-luftfilter
Kupplungsdeckel
Starterhebel
Gehäuse nebenluft




The information below is required for social login
Anmelden
Neuen Account erstellen