Ersatzteilkatalog
Motor
Batterie-massekabel und pluspolkabel
Scheinwerfer-blinker
Vorwärmvorrichtung-spannungsregler-fernschalter
Blinkerschalter-bremskontakt
Verteilerbüchse-mikrounterbrecher-sicherungshalter
Befestigung positivkabel
Rücklicht
Elektrische Anlage
Scheibenwischer-innenraumbeleuchtung
Innenbeleuchtung des kastenaufbaus
Bremsanlage - Bowdenzüge
Fubbrett
Hydraulikzylinder
Ölpumpe-Verteiler
Getriebekit
Hebeleinheit
Befestigung des bremszylinder und bremspedal (lenker)
Hauptbremszylinder
Stoßdämpfer hinten
Befestigung hintere trommel
Bremsbelege hinten
Bremsleitung vorderrad
Bremszylinderbefestigung (lenkrad)
Hinterer radbremszylinder
Kleine nabe hinterrad
Hinteres aufhängungsdreieck
Rad (lenker)
Bremsolbehalter
Rad (lenkrad)
Kleine nabe-elastische verbindung hinterrad
Bremsleitung hinterrad
Lenker/Lenkung
Elektrische Anlage
Batterie-Regler
Bllnker
Elektrische Vorrichtungen
Elektrische Vorrichtungen
Elektrische Vorrichtungen
Elektrische leitungen
Rücklicht
Scheinwerfereinheit
Rad
Schilden
Heizungseinheit
Batteriebügel
Abweisergruppe
Armaturenbrett-zündschloß
Handgriffe
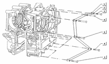
Kastenaufbau
Kastenaufbau
Kastenaufbau
Ruckwand
Pritsche
Bordwande
Kippbare ladeflache
Kippbare ladeflache
Kippbare ladeflache
Motorkontrolldeckel
Oltank
Pumpeneinheit-verteiler
Seitlich kippbare ladeflache
Maintenance
Fahrgestell - Plastformteil - Karosserien
Bremszange
Bremsbelege hinten
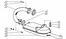
Auspufftopf
Bremstrommel hinterrad
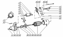
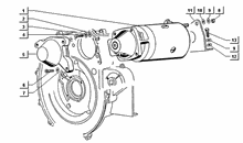
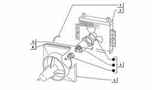
Anlassermotor
Fahrgestell/Karosserie
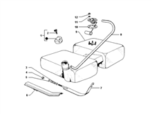
Kraftstofftank
Oltank
Benzinstandanzeiger
Stoßdämpfer hinten
Stossdämpfer vorderer
Sitz
Staubschutzscheibe-o-ring
Hauptständer
Lenker-km-zähler
Lenker bauteile
Wechselrad
Vergaserkomponenten
Klühlhaube-hauptlager
Kurbelwelle-pleuelstange-kurbelzapfen einheit
Lichtmaschine
Befestigung schaltsegment
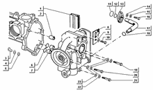
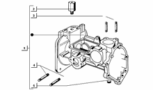
KURBELGEHÄUSE
Kupplung
Kurbegehäusebefest.
Frisch÷lautomatik
LÜFTERGEHÄUSEDECKEL-Motorschutz
Elektronische zündvorrichtung
Vergaserkomponenten
Motor
Einheit Zylinder-Kolben-Kolbenbolzen
Bauteile luftfilter
Starterhebel
Lenkung
Schaltgriff
Lagerungen steuerrohr-diebstahlssicherung
Lenkerabdeckung
Kotflügel-rad
Vordere trommel
Gasseil-Kupplungsseil
Schaltzug-vorderradbremszug
Bremsenkit
Getriebekit
Bowdenzüge Hintere bremse-km-zähler-starter
Heizungsrohre
Scheibenwaschanlage
Heizungs und zuluftregelung
Scheibenwischer
Motorabstellvorrichtung
Motorabstellvorrichtung Version Deutschland




The information below is required for social login
Anmelden
Neuen Account erstellen