Ersatzteilkatalog
MOTOR
Wandlerdeckel
Wandler
Schwungrad
Endübersetzung
Vergaser
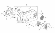
KURBELGEHÄUSE
Vergaser
Zündgruppe
Kurbelwellengehäuse II
Motor
Klappenkörper
Zündgruppe
Startermotor
Kupplung
Einspeisung - Ölpumpe
Vergaser
Starterrad - startermotor
Zündung
Wasserpumpe
Kupplung
Ölpumpe
Abtriebswelle
Benzindampfrückf.-Anlage II
RAHMEN
Hinterrad Scheibenbremse
Hinterrad trommelbremse
Vorderradbremszange
Fahrgestell/Karosserie
Hinterrad Scheibenbremse
H.radaufhängung-Pleuelstange
Frontaufbau I
Frontaufbau II
Frontaufbau III
Frontaufbau IV
Fussrasten - Ständer
Heckaufbau I
Heckaufbau II
Lenkstange - Instrumenteneinheit
Schaltungen rechts
Schaltungen links
Auspufftopf
Öl- und Kraftstofftank
Mittlerer aufbau I
Mittlerer aufbau II
Sitz - Gepäckträger
Vorderrad
Filtergehäuse
Auspufftopf
Staukoffer
Rear headlight - Top box
Vorderradgabel
Schloßen
Schilden
Blinker
Lichter
Deko und bed./wart.- Anleitung
Elektrische Anlage
Elektrische anlage I
Hinterradzange
Staukoffer




The information below is required for social login
Anmelden
Neuen Account erstellen