Ersatzteilkatalog
MOTOR
Startermotor
Spritzeinheit (Ditech)
Schwungrad
Wandlerdeckel
Wandler
Schwungrad
Endübersetzung
Vergaser
KURBELGEHÄUSE
Vergaser
Zündgruppe
Klappenkörper
Zündgruppe
Startermotor
Kupplung
Einspeisung - Ölpumpe
Vergaser
Starterrad - startermotor
Zündung
Wasserpumpe
Kupplung
Abtriebswelle
Benzindampfrückf.-Anlage II
RAHMEN
Hinterrad Scheibenbremse
Hinterleuchten
Hinterrad trommelbremse
Vorderradbremszange
Fahrgestell/Karosserie
Hinterrad Scheibenbremse
H.radaufhängung-Pleuelstange
Frontaufbau I
Frontaufbau II
Frontaufbau III
Frontaufbau IV
Fussrasten - Ständer
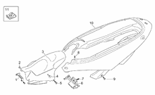
Heckaufbau I
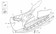
Heckaufbau II
Lenkstange - Instrumenteneinheit
Schaltungen rechts
Schaltungen links
Auspufftopf
Öl- und Kraftstofftank
Mittlerer aufbau I
Mittlerer aufbau II
Sitz - Gepäckträger
Vorderleuchten
Vorderrad
Filtergehäuse
Auspufftopf
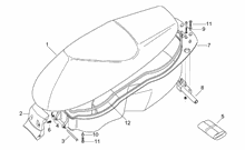
Staukoffer
Rear headlight - Top box
Vorderradgabel
Schloßen
Schilden
Blinker
Lichter
Deko und bed./wart.- Anleitung
Elektrische Anlage




The information below is required for social login
Anmelden
Neuen Account erstellen