Ersatzteilkatalog
MOTOR
RAHMEN
Hinterrad Scheibenbremse
Hinterleuchten
Hinterrad trommelbremse
Vorderradbremszange
Fahrgestell/Karosserie
Hinterrad Scheibenbremse
H.radaufhängung-Pleuelstange
Frontaufbau I
Frontaufbau II
Frontaufbau III
Frontaufbau IV
Fussrasten - Ständer
Heckaufbau I
Heckaufbau II
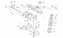
Lenkstange - Instrumenteneinheit
Schaltungen rechts
Schaltungen links
Deko Anleitung Schilder
Auspufftopf
Öl- und Kraftstofftank
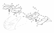
Mittlerer aufbau I
Mittlerer aufbau II
Sitz - Gepäckträger
Vorderleuchten
Vorderrad
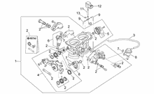
Filtergehäuse
Auspufftopf
Staukoffer
Rear headlight - Top box
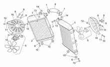
Vorder Elektrische Anlage
Hint.Elektrische Anlage
Vorderradgabel
Schloßen
Schilden
Blinker
Lichter
Deko und bed./wart.- Anleitung
Elektrische Anlage
Elektrische anlage I
Hinterradzange
Staukoffer
Staukoffer
Scheinwerfer




The information below is required for social login
Anmelden
Neuen Account erstellen