Ersatzteilkatalog
MOTOR
RAHMEN
Hinterrad Scheibenbremse
Hinterleuchten
Hinterrad trommelbremse
Vorderradbremszange
Hinterrad Scheibenbremse
Heckaufbau I
Heckaufbau II
Lenkstange - Instrumenteneinheit
Schaltungen rechts
Schaltungen links
Deko Anleitung Schilder
Auspufftopf
Öl- und Kraftstofftank
Schloßen
Mittlerer aufbau I
Mittlerer aufbau II
Sitz - Gepäckträger
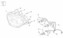
Vorderleuchten
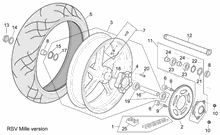
Vorderrad
Filtergehäuse
Auspufftopf
Staukoffer
Rear headlight - Top box
Vorder Elektrische Anlage
Hint.Elektrische Anlage
Schloßen
Schilden
Blinker
Lichter
Elektrische Anlage
Hinterradzange
Staukoffer
Schilder und Anleit.
Elektrische anlage I
Elektrische anlage I
Staukoffer
Schloßen
USA version
Benzindampfrückf.-Anlage
Secondary air
Benzindampfrückf.-Anlage I
Schilder und Anleit.
Benzindampfrückf.-Anlage
Secondary air
Canister halte USA
VDB and Merriman components
Elektrische anlage I
Aufkleber technisch
Auslassgruppe II
Vorderradgabel Ming Xing




The information below is required for social login
Anmelden
Neuen Account erstellen