Ersatzteilkatalog
Motor
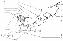
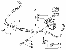
Bremsanlage - Bowdenzüge
Lenker/Lenkung
Elektrische Anlage
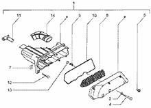
Fubbrett
Bremsbelege hinten
Auspufftopf
Bremstrommel hinterrad
Anlassermotor
Fahrgestell/Karosserie
Kraftstofftank
Oltank
Benzinstandanzeiger
Sitz
Staubschutzscheibe-o-ring
Hauptständer
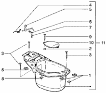
Staukoffer
Schließvorrichtung kotflügel
Vergaserkomponenten
Vergaserkomponenten
Lagerungen steuerrohr-diebstahlssicherung
Lenkerabdeckung
Kotflügel-rad
Maintenance
Fahrgestell - Plastformteil - Karosserien
Wechselrad
Klühlhaube-hauptlager
Kurbelwelle-pleuelstange-kurbelzapfen einheit
Schaltgabel
Lichtmaschine
Stoßabfangendes vorgelegerad
Befestigung schaltsegment
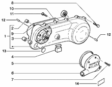
KURBELGEHÄUSE
Kupplung
Kurbegehäusebefest.
Frisch÷lautomatik
LÜFTERGEHÄUSEDECKEL-Motorschutz
Elektronische zündvorrichtung
Motor
Einheit Zylinder-Kolben-Kolbenbolzen
Bauteile luftfilter
Vergaser-luftfilter
Kupplungsdeckel
Starterhebel




The information below is required for social login
Anmelden
Neuen Account erstellen