Ersatzteilkatalog
- Ersatzteilkatalog
- MOTO GUZZI
- CALIFORNIA
- California EV/EV Touring/80 1100 2001-2002 (APAC, EMEA, NAFTA)
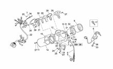
MOTOR
RAHMEN
Vorderrad II
Zündung Digiplex
Luftfilter
Vorderrad
Batterie - Zündung Motoplat
Elektrische Anlage
Suitcase kit
Elektrische anlage I
Schwinge
Fussrasten - Ständer
Lenker
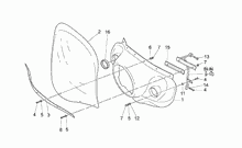
Verkleidung
Vorderradbremspumpe
Vorderradgabel
Hinterradbremspumpe
Instrumententafel
Hinterrad
Teilerradsatz
Aufbau
Rücklicht
Bremszange
Schutzbleche vo.-hi.
Stroboskopleuchte VAMA
Scheinwerfer-Hupe
"Sonora"- Zweitonsirenen
Fahrgestell/Karosserie
Einspeisung
Elektrische Anlage "Digiplex"
Aufhängung Vorn-Hinten
Hinterleuchten
Einspeisung
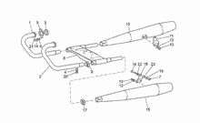
Auslassgruppe
Elektrische anlage I
Schloßen
Elektrische Anlage
Elektrische Anlageeinspritzung




The information below is required for social login
Anmelden
Neuen Account erstellen