Ersatzteilkatalog
- Ersatzteilkatalog
- MOTO GUZZI
- CALIFORNIA
- California Special Sport/Al. PI 1100 2002, California Stone/Metal PI 1100 2002 (APAC, EMEA, NAFTA)
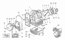
MOTOR
RAHMEN
Vorderrad II
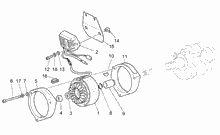
Zündung Digiplex
Vorderrad
Elektrische anlage I
Fussrasten - Ständer
Lenker
Vorderradbremspumpe
Hinterradbremspumpe
Hinterrad
Teilerradsatz
Rücklicht
Bremszange
Auslassgruppe
Schutzbleche vo.-hi.
Scheinwerfer-Hupe
"Sonora"- Zweitonsirenen
Fahrgestell/Karosserie
Einspeisung
Bremsanlage ABS
Elektrische Anlage "Digiplex"
Aufhängung Vorn-Hinten
Hinterleuchten
Elektrische Anlageeinspritzung
Auslassgruppe
Einspeisung
Auslassgruppe
Elektrische anlage I
Schloßen




The information below is required for social login
Anmelden
Neuen Account erstellen