Ersatzteilkatalog
MOTOR
RAHMEN
Vorderrad II
Luftfilter
Vorderrad
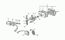
Batterie - Zündung Motoplat
Elektrische Anlage
Suitcase kit
Schwinge
Fussrasten - Ständer
Lenker
Verkleidung
Vorderradbremspumpe
Vorderradgabel
Hinterradbremspumpe
Instrumententafel
Hinterrad
Teilerradsatz
Aufbau
Rücklicht
Bremszange
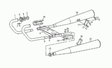
Schutzbleche vo.-hi.
Stroboskopleuchte VAMA
Scheinwerfer-Hupe
"Sonora"- Zweitonsirenen
Fahrgestell/Karosserie
Aufhängung Vorn-Hinten
Schloßen




The information below is required for social login
Anmelden
Neuen Account erstellen