Ersatzteilkatalog
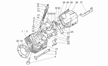
MOTOR
RAHMEN
Vorderrad II
Zündung Digiplex
Luftfilter
Vorderrad
Elektrische anlage I
Bremsanlage - Hinten
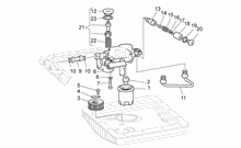
Vorderradbremspumpe
Vorderradgabel
Hinterradbremspumpe
Instrumententafel
Hinterrad
Teilerradsatz
Rücklicht
Auslassgruppe
"Sonora"- Zweitonsirenen
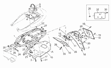
Fahrgestell/Karosserie
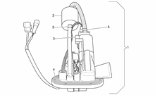
Einspeisung
Lenkstange - Schaltungen
Bremsanlage ABS
Elektrische Anlage "Digiplex"
Aufhängung Vorn-Hinten
Hinterleuchten
Elektrische Anlageeinspritzung
Auslassgruppe
Auslassgruppe
Einspeisung
Auslassgruppe
Strobo Leuchte "sonora"
Elektrische anlage I
Schloßen
Rücklicht
Elektrische Anlage
Ölkühler




The information below is required for social login
Anmelden
Neuen Account erstellen