Ersatzteilkatalog
MOTOR
RAHMEN
Zündung Digiplex
Luftfilter
Vorderrad
Batterie - Zündung Motoplat
Elektrische Anlage
Suitcase kit
Schwinge
Fussrasten - Ständer
Lenker
Verkleidung
Vorderradbremspumpe
Vorderradgabel
Hinterradbremspumpe
Instrumententafel
Hinterrad
Teilerradsatz
Aufbau
Rücklicht
Bremszange
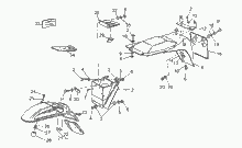
Schutzbleche vo.-hi.
Stroboskopleuchte VAMA
Scheinwerfer-Hupe
"Sonora"- Zweitonsirenen
Fahrgestell/Karosserie
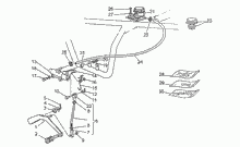
Einspeisung
Aufhängung Vorn-Hinten
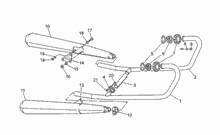
Auslassgruppe
Strobo Leuchte "sonora"




The information below is required for social login
Anmelden
Neuen Account erstellen