Ersatzteilkatalog
MOTOR
RAHMEN
Zündung Digiplex
Batterie - Zündung Motoplat
Elektrische Anlage
Suitcase kit
Elektrische anlage I
Schwinge
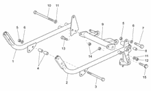
Fussrasten - Ständer
Lenker
Verkleidung
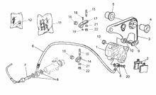
Vorderradbremspumpe
Hinterradbremspumpe
Instrumententafel
Hinterrad
Teilerradsatz
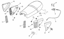
Aufbau
Rücklicht
Bremszange
Schutzbleche vo.-hi.
Stroboskopleuchte VAMA
Scheinwerfer-Hupe
"Sonora"- Zweitonsirenen
Fahrgestell/Karosserie
Einspeisung
Elektrische Anlage "Digiplex"
Aufhängung Vorn-Hinten
Hinterleuchten
Einspeisung
Auslassgruppe
Elektrische anlage I
Schloßen
Benzindampfrückf.-Anlage




The information below is required for social login
Anmelden
Neuen Account erstellen