Ersatzteilkatalog
MOTOR
RAHMEN
Fahrgestell/Karosserie
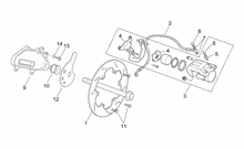
Hinterrad Scheibenbremse
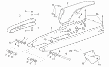
H.radaufhängung-Pleuelstange
Frontaufbau I
Frontaufbau II
Frontaufbau III
Frontaufbau IV
Fussrasten - Ständer
Heckaufbau I
Heckaufbau II
Schaltungen rechts
Schaltungen links
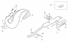
Auspufftopf
Öl- und Kraftstofftank
Mittlerer aufbau I
Mittlerer aufbau II
Sitz - Gepäckträger
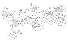
Vorderleuchten
Vorderrad
Filtergehäuse
Auspufftopf
Staukoffer
Rear headlight - Top box
Vorderradgabel




The information below is required for social login
Anmelden
Neuen Account erstellen